ИБП PowerMAN Online 1000I 1000VA
- — Чтобы видеть цены и делать заказы, войдите в личный кабинет, или зарегистрируйтесь
- — Оптовые, или дилерские цены предоставляются после активации аккаунта
- — Сроки поставки товара согласовываются с вашим менеджером
Наличие товара PowerMAN Online 1000I
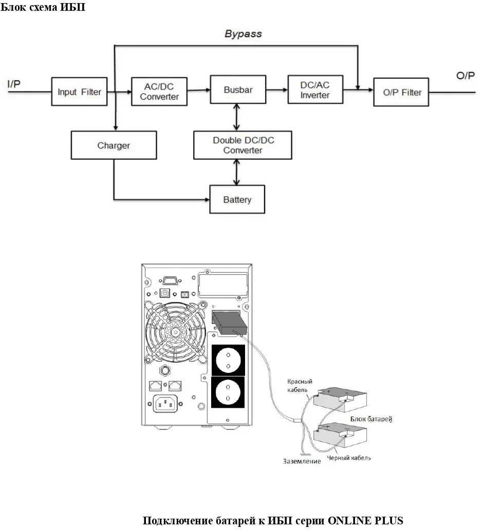
Описание PowerMAN Online 1000I
Характеристики
| Основные характеристики | |
| Тип | Источник бесперебойного питания |
| Тип ИБП/Силового модуля | С двойным преобразованием (on-line) |
| Форм-Фактор | Напольный |
| Активная выходная мощность, Вт | 900 |
| Разъемы и интерфейсы | |
| Входные разъемы | IEC C14, USB, RS232 DB9 |
| Выходные разъемы | 4x IEC C13 |
| Входные характеристики | |
| Количество фаз | 1 |
| Номинальное входное напряжение, В | 220 |
| Входная частота, от, Гц | 45 |
| Входная частота, до, Гц | 70 |
| Мин. входного напряжения, В | 115 |
| Макс. входного напряжения, В | 295 |
| Выходные характеристики | |
| Количество фаз (вых) | 1 |
| Номинальное выходное напряжение, В | 220 |
| Синхр-ная с электросетью частота, от, Гц | 50 |
| Синхр-ная с электросетью частота, до, Гц | 60 |
| Не синхр-ная с электросетью частота, от, Гц | 50 |
| Не синхр-ная с электросетью частота, до, Гц | 60 |
| Тип формы напряжения | Чистая синусоида |
| Автоматический регулятор напряжения | Да |
| Батарея | |
| Батарея. Наличие в поставке | Да |
| Емкость батареи, Ач | 9 |
| Напряжение, В | 12 |
| Батарея. Количество в комплекте | 1 |
| Линейное напряжение сборки, В | 24 |
| Типовое время заряда, час | 8 |
| Время автон. работы при 100% нагрузке, мин | 4 |
| Возможность подкл-я внешнего бат. блока | Да |
| Индикация и управление | |
| Интерфейс управления | SNMP и EPO |
| ЖК дисплей | LED-панель |
| Коммуникационное ПО | Да |
| Защита и фильтрация | |
| Защита от короткого замыкания | Да |
| Защита от высоковольтных импульсов | Да |
| Защита от перегрузки | Да |
| Защита от переразряда батареи | Да |
| Прочие характеристики | |
| Материал корпуса | Сталь, пластик |
| Цвет | Черный |
| Вес нетто, кг | 9.16 |
| Ширина, мм | 144 |
| Высота, мм | 209 |
| Глубина, мм | 293 |
| Вид поставки | RTL |
| Комплект поставки | Руководство пользователя, ИБП, кабель питания, кабель RS232, кабель USB |
